دمای روغن و دمای سیم پیچ در داخل یک ترانسفورماتور بر عملکرد و عمر خدمات عایق تأثیر می گذارد و از این طریق بر طول عمر ترانسفورماتور تأثیر می گذارد و حتی به طور مستقیم باعث ایجاد گسل می شود. بنابراین ، نیاز به نظارت بر دمای داخلی- واقعی ترانسفورماتور است. با توجه به اصل اندازه گیری دما ، سه نوع دماسنج وجود دارد: 1. دماسنج جیوه. 2. دماسنج فشار ؛ 3 دماسنج مقاومت پلاتین. دمای اندازه گیری شده را می توان به روشهای زیر استفاده کرد: 1. ارسال شده به متر اصلی بدن برای نمایش در زمان واقعی- از طریق نشانگر. 2. کولر را کنترل کنید و سیگنال های زنگ هشدار را از طریق تماس های کمکی کنتور ارسال کنید. 3. مقدار آنالوگ برای نمایش دما در پس زمینه نظارت به دستگاه اندازه گیری و کنترل ارسال می شود. پرسنل بهره برداری و نگهداری باید مطابق با دفترچه راهنما و مقررات دستورالعمل سازنده ، شرایط دمای غیر طبیعی را کنترل کنند. با توجه به ولتاژ بالا و میدان مغناطیسی قوی در داخل ترانسفورماتورهای بزرگ ، "دماسنج فشار" (اصل 2) به طور کلی اتخاذ می شود. دو نوع کنترل کننده دما برای ترانسفورماتورها وجود دارد: کنترل کننده دمای سطح روغن و کنترل کننده دمای سیم پیچ ، با تفاوت در اصل و ساختار از یک جنبه. حال ، بیایید مستقیماً کنترل کننده دمای سیم پیچ را معرفی کنیم.
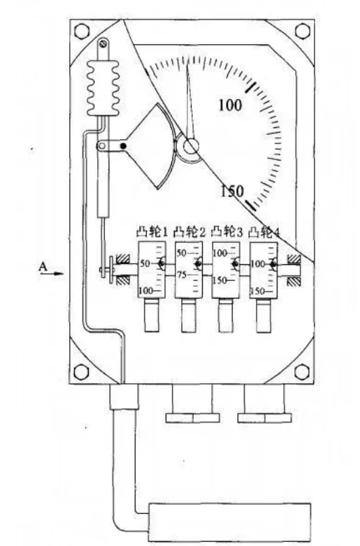
ابتدا ، همانطور که در شکل زیر نشان داده شده است ، بیایید با ظاهر آن آشنا شویم.

1. اتصالات لوله فلزی در پایین پایه است و لامپ دما در داخل پایه قرار می گیرد. لامپ دما حاوی یک محیط سنجش دما- است که هنگام گرم شدن گسترش می یابد. این قسمت در روغن بالای ترانسفورماتور تا عمق حدود 150 میلی متر درج شده است.

2. شیلنگ بهاری سیم پیچ در پشت حاوی یک لوله مویرگی است که محیط در حال گسترش را به متر منتقل می کند.
رسانه در حال گسترش عنصر الاستیک را هدایت می کند و نشانگر از طریق مکانیسم انتقال هدایت می شود. نشانگر سفید روی شماره گیری فوقانی دمای زمان واقعی {{1} را نشان می دهد.
3. اطلاعات دیگری در مورد شماره گیری وجود دارد: یک نشانگر قرمز و چهار رنگ- بلوک های کدگذاری کدگذاری شده (قرمز ، آبی ، سبز و زرد). الف هنگامی که درجه حرارت بالا می رود ، نشانگر سفید به موقعیت نشانگر قرمز تبدیل می شود و سپس به سمت راست می چرخد ، نشانگر قرمز را به سمت راست می چرخاند. هنگامی که دما کاهش می یابد ، نشانگر قرمز با رنگ سفید باز نمی گردد ، بنابراین نشانگر قرمز حداکثر موقعیتی را که نشانگر سفید به آن رسیده است ، ثبت می کند. ب. چهار نشانگر رمزگذاری شده چهار رنگ- با چهار گروه از مخاطبین کمکی به طور معمول باز (یا به طور معمول بسته) مطابقت دارد و مقدار دمای مربوطه مقدار عمل تماس کمکی است.


توابع مخاطبین کمکی توسط کاربر انتخاب می شوند ، تقریباً به شرح زیر است: K1. دمای بازگشت خنک کننده ؛ K2 دمای شروع خنک کننده ؛ K3. زنگ هشدار درجه حرارت بالا ؛ K4 سفر با دمای بالا. در حال حاضر بیشتر متر های جدید 6 گروه از مخاطبین کمکی دارند که K5 در خاکستری و K6 به رنگ بنفش است که می تواند در صورت نیاز یا به عنوان قطعات یدکی مورد استفاده قرار گیرد.
با این حال ، دمای اندازه گیری شده در بالا هنوز دمای روغن است که هیچ ارتباطی با سیم پیچ ها ندارد. به هر حال ، موقعیت سیم پیچ ها برای دماسنج غیرقابل دسترسی است ، بنابراین یک راه حل اتخاذ می شود ، جایی که کنترل کننده دمای سیم پیچ با کنترل کننده دمای سطح روغن متفاوت است.
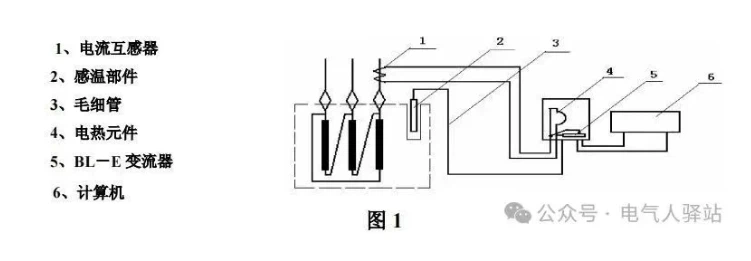
موارد فوق فقط یک نمودار شماتیک از اصل است. بیایید نگران نباشیم که چگونه سیم پیچ ترانسفورماتور در سمت چپ وصل شده است. در اینجا ، مؤلفه های 1 ، 4 و 5 از ویژگی های ویژه هستند. به عبارت ساده ، اصل این است که جریان بار را در مدار 1-4-5 به افزایش دمای مس تبدیل کنید و سپس آن را در دمای روغن قرار دهید تا دمای سیم پیچ را بدست آورید.
1 سیم پیچ ثانویه از ولتاژ بالا- CT بوشینگ جانبی است. جریان خروجی توسط مبدل فعلی (5) با استفاده از یک روش خاص به یک جریان مناسب تبدیل می شود (از آنجا که جریانهای ثانویه به دلیل تفاوت در نسبت های تحول و غیره در بین تولید کنندگان متفاوت است ، تبدیل جریان لازم است). جریان تبدیل شده از عنصر گرمایش الکتریکی (4) عبور می کند ، و گرما تولید شده باعث افزایش جابجایی عنصر الاستیک می شود و در نتیجه دمای بالاتر نشان داده می شود و در نتیجه دمای سیم پیچ را منعکس می کند.
در اینجا یک روش شبیه سازی حرارتی نیز وجود دارد: از جریان ثانویه CT تبدیل شده برای گرم کردن لامپ دما استفاده می شود.
به صفحه نام نگاه کنید: ثانویه برای اندازه گیری دمای سیم پیچ استفاده می شود.
پیش از این ، ما در مورد کنترل کننده دما صحبت کردیم. از آنجا که چیزهای بیشتری برای آمدن وجود دارد ، ما در آن زمان منشأ نشانگر دما کنترلر دما را توضیح دادیم. لامپ دما درج شده در روغن ترانسفورماتور دمای روغن را حس می کند و محیط الاستیک در لامپ دما ، انبساط را به نشانگر منتقل می کند و از این طریق دما را نشان می دهد. در آن زمان دو سؤال حل نشده است: اول ، دقیقاً توسط جریان CT در اندازه گیری دمای سیم پیچ گرم می شود. دوم ، چگونگی دمای دیجیتال نمایش داده شده در پس زمینه نظارت از آن ناشی می شود. پس از مطالعه دقیق دستورالعمل ها و مشاوره با تولید کننده کنتور ، پاسخ ها را بدست آورده ایم. ابتدا جریان CT (جریان تبدیل شده توسط ترانسفورماتور جریان) لامپ دما را در ترانسفورماتور گرم می کند. همانطور که در این شکل نشان داده شده است ، خروجی جریان از 1 از طریق 5 تبدیل می شود و سپس به 2 وارد می شود تا لامپ دما را گرم کند.

شکل زیر در ابتدا گیج کننده و دشوار بود ، اما اکنون معنی دارد. جعبه متراکم در سمت راست باید یک نمای بزرگ از پایه دما در سمت چپ باشد. دو جعبه متصل توسط خط قرمز در واقع همان مؤلفه هستند. درک این مسئله آسانتر می شود: در داخل پایه دما ، یک لامپ دما ، یک عنصر گرمایش الکتریکی (برای دماسنج سیم پیچ) و یک مقاومت PT100 وجود دارد.

بنابراین ، توضیحات در این بند "کنترل کننده دما 1" نادرست است. نمی توان گفت که روش شبیه سازی حرارتی دیگری وجود دارد. پس از تحقیق در چندین مدل ، معلوم می شود که تمام کنترل کننده های دمای سیم پیچ روش شبیه سازی را اتخاذ می کنند.
"1 سیم پیچ ثانویه از ولتاژ بالا- ولتاژ بوشینگ CT. جریان خروجی توسط 5 مبدل فعلی با توجه به یک روش خاص به یک جریان مناسب تبدیل می شود (از آنجا که جریانهای ثانویه به دلیل تفاوت در نسبت های تحول و غیره متفاوت است ، تبدیل جریان و گرمای جریان مورد نیاز است. عنصر الاستیک برای افزایش ، به طوری که دمای نشان داده شده نیز افزایش می یابد ، بنابراین دمای سیم پیچ را نیز در اینجا نشان می دهد.
سوال دوم این است: چگونه دمای نمایش داده شده در نظارت پس زمینه به وجود می آید؟ بیایید به نمودار اصلی مدار اندازه گیری دمای ترانسفورماتور نگاه کنیم.
دماسنج دو سیگنال جریان 4-20mA را خروجی می کند. در اینجا یک مقدمه مختصر در برابر مقاومت پلاتین PT100 آورده شده است: "PT100 یک مقاومت حرارتی پلاتین است که مقاومت آن با دما تغییر می کند." 100 "در PT100 نشان می دهد که مقاومت آن 100 اهم در 0 درجه و تقریباً 138.5 اهم در 100 درجه است."
مقاومت همه هادی ها با دما تغییر می کند ، اما تغییر در مقاومت های پلاتین پایدار و قابل توجه است. اصل اندازه گیری دما با ترسیم این رابطه مربوطه به عنوان منحنی کار می کند ، سپس دما مطابق با مقاومت اندازه گیری شده در برابر منحنی را بررسی می کند. این دما را به مقاومت تبدیل می کند ، جایی که مقاومت برابر با ولتاژ تقسیم شده توسط جریان است. یک رایانه سیگنال الکتریکی را پردازش می کند تا دما از PT100 بدست آید.
بنابراین ، استفاده از ولتاژ DC به مقاومت پلاتین در لامپ دما و خروجی جریان ، نحوه کار فرستنده دما است که بخشی از قاب قرمز شکل زیر است. (این اصل اساسی است ؛ در عمل ، فرستنده های دما نیز دارای مدارهایی برای تنظیم صفر و جبران خسارت برای دقت هستند که نیازی به درک جزئیات آن نیست.)
همچنین می تواند به طور مستقیم PT100 (قسمت موجود در قاب آبی) را تولید کند. درک من این است که کنترل کننده دما وظیفه هدایت دو انتهای مقاومت (از بین بردن نیاز به فرستنده) را بر عهده دارد و مدار اندازه گیری ولتاژ را به خودی خود برای محاسبه اعمال می کند.
در مورد اینکه چرا PT100 دارای سه نتیجه است ، من به صورت آنلاین چک کردم و توضیحات زیر را پیدا کردم (این قسمت خواندن اختیاری است): یک سنسور مقاومت به پلاتین PT100 دارای سه سرب است که می تواند توسط A ، B ، C (یا سیاه ، قرمز ، زرد) نشان داده شود. قوانین بین این سه سرب به شرح زیر است: مقاومت بین A و B یا A و C حدود 110 اهم در دمای اتاق است ، در حالی که مقاومت بین B و C 0 اهم است زیرا B و C به طور مستقیم در داخل متصل هستند. در اصل ، هیچ تفاوتی بین B و C وجود ندارد. به طور کلی ، ابزارهای نمایش یک روش اتصال سیم سه- را ارائه می دهند. یک انتهای PT100 دارای یک سرب و انتهای دیگر دارای دو سرب است که همه به ساز متصل هستند. این ابزار در داخل مقاومت سرب را از طریق یک مدار پل جبران می کند.
یک آیین نامه نهایی: دمای نمایش داده شده توسط کنتور و آن که در زمینه نظارت بیش از 5K نیست. دمای نشان داده شده توسط چندین دماسنج در سایت ، دستگاه های نمایش دما در اتاق کنترل یا سیستم نظارت باید اساساً سازگار باشد ، با این خطایی که بیش از 5K نیست.
بخش CTA (بهبود نرخ تبدیل):
📞 اکنون راه حل های اختصاصی برای بازارهای آمریکای جنوبی و آفریقا را دریافت کنید
ایمیل: jsm687254@gmail.com
از طریق WhatsApp با مهندسان مشورت کنید: +86 15706806907 (ضمیمه PDF دستی محصول)
